Make sure that the groove on the shaft is pointing toward the center of the screw [D].
If the shaft position is incorrect, refer to the following NOTE and procedures to electrically adjust the shaft position.

Torque - Exhaust Butterfly Valve Actuator Pulley Bolt: 4.9 N·m (0.50 kgf·m, 43 in·lb)

NOTICE
If the pulley bolt is tightened without holding, the actuator damage will occur.
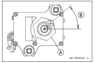
41.7° ±7° [B]
This position is original position of the pulley.
NOTE
Correct the position electrically after confirming the use is discontinued and there is no damage when differing from the angle of shown in the figure.

NOTICE
Do not correct the pulley position with the tool, forcibly. The actuator damage will occur.
If the pulley angle is wrong, adjust the angle as follows.
Connect: 2 pins Connector 3 pins Connector
Turn the ignition switch to ON.
Confirm the pulley turns clockwise or counterclockwise then it stops at the original position.
If the pulley position has not been returned to the original position, electrically adjust the shaft position as follows.

Remove: 2 pins Connector 3 pins Connector
Turn the pulley to the original position by turning it clockwise or counterclockwise by connecting the battery to the 2 pin connector terminals. To turn the pulley gradually, intermittently connect the battery positive (+) terminal to the 2 pin connector terminal while connecting the battery negative (–) terminal to the connector.
Pink (–) lead terminal [A] Gray (+) lead terminal [B]
Clockwise: Pink (–) lead terminal to battery (–) terminal Gray (+) lead terminal to battery (+) terminal
Counterclockwise: Pink (–) lead terminal to battery (+) terminal Gray (+) lead terminal to battery (–) terminal
Reconnect the 2 pins connector and 3 pins connector, and turn the ignition switch ON.
Make sure that the pulley turns clockwise and then counterclockwise.
The pulley should returns to the original position.
Turn the ignition switch OFF.
If the pulley does not return to the original position, check the exhaust butterfly valve actuator resistance (see Exhaust Butterfly Valve Actuator Resistance Inspection).

Exhaust Butterfly Valve Actuator Removal
Exhaust Butterfly Valve Actuator InspectionIntake Air Temperature Sensor Output Voltage Inspection
NOTE
Be sure the battery is fully charged.
Turn the ignition switch to OFF.
Remove the fuel tank (see Fuel Tank Removal in the Fuel
System (DFI) chapter).
Disconnect the intake air temperature sensor connector
and connect the measuring adapter [A] between these
connectors as shown in ...
S-KTRC Warning Indicator Light
The yellow warning indicator light in
the meter unit functions as the S-KTRC
warning indicator light. The yellow
warning indicator light and all S-KTRC
mode indicators blink whenever there
is a malfunction in the S-KTRC system.
At this time, the S-KTRC system does
not function.
If the ye ...
Balance Adjustment
If the wheel always stops in one position, provisionally
attach a balance weight [A] on the rim at the marking using
adhesive tape.
Rotate the wheel 1/4 turn [B], and see whether or not the
wheel stops in this position. If it does, the correct balance
weight is being used.
If the whe ...