11 mm (0.43 in.) [B] Steering Stem Head [C]

NOTE
Tighten the two lower front fork clamp bolts alternately two times to ensure even tightening torque.
NOTE

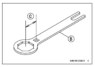
Formula: a × b ÷ (b + c) = d
[a] Specified torque
[b] Length from center of square hole to grip point
[c] Offset = 44 mm
[d] Tightening torque

For an example: 35 N·m × 310 ÷ (310 + 44) = 31 N·m
Tighten: Torque - Front Fork Clamp Bolts (Upper): 20 N·m (2.0 kgf·m, 15 ft·lb) Handlebar Clamp Bolts: 25 N·m (2.5 kgf·m, 18 ft·lb)
Front Fork Removal (Each Fork Leg)
Front Fork Oil ChangeImmobilizer System (Equipped Models)
This motorcycle is equipped with an immobilizer system to protect the
motorcycle from theft. This
system provides a theft proof device by means of matching a code between the
inbuilt key transponder
and ECU. If the code does notmatch, ignition system, injectors, subthrottle
valve actuator an ...
KIBS Hydraulic Unit Communication Error (Service Code 1b, KIBS Equipped
Models)
KIBS Hydraulic Unit Communication Line Inspection
When the data (for status of KIBS hydraulic unit) is not
sent from the KIBS hydraulic unit to the meter unit and
ECU, the service code 1b is displayed.
The data is sent through the CAN communication line.
The service code 1b is detected with the ...
Transmission Assy Installation
Assemble the transmission assy (see Transmission Assy
Assembly).
Be sure that the dowel pins are in position.
Install the transmission assy on the crankcase.
Tighten:
Torque - Transmission Case Bolts: 20 N·m (2.0 kgf·m, 15
ft·lb)
Install:
Shift Shaft (see External Shift Mechani ...