
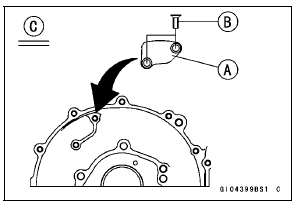
Torque - Breather Plate Bolts: 9.8 N·m (1.0 kgf·m, 87 in·lb)

Special Tool - Bearing Driver Set: 57001-1129
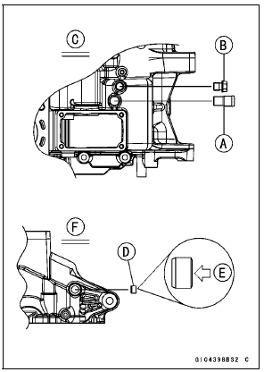
Torque - Breather Plug: 15 N·m (1.5 kgf·m, 11 ft·lb) View from Upside [C]
View from Left Side [F]



Crankcase Assembly
Lower Crankcase AssemblyMaster Cylinder Rubber Parts Replacement
Front Master Cylinder Disassembly
Remove the front master cylinder (see Front Master Cylinder
Removal in the Brakes chapter).
Remove the seal cover [A], circlip [B], connector [C] and
O-ring [D].
Special Tool - Inside Circlip Pliers: 57001-143
Unscrew the locknut [E] and pivot bolt ...
Front Master Cylinder Installation
Apply silicone grease to the sliding surface of the brake
lever pivot bolt.
Tighten:
Torque - Brake Lever Pivot Bolt: 1.2 N·m (0.12 kgf·m, 11
in·lb)
Brake Lever Pivot Bolt Nut: 5.9 N·m (0.60 kgf·m,
52 in·lb)
Assemble the reservoir [A] and the bracket [B] as shown
in the figu ...
Tie-Rod and Rocker Arm Bearing Installation
Replace the needle bearings [A] and oil seals with new
ones.
Apply plenty of grease to the lips of the oil seals.
Install the needle bearings and oil seals position as shown
in the figure.
Screw the needle bearing driver into the driver holder.
Insert the needle bearing driver into th ...