 

NOTE
Do not move the connecting rod and crankshaft during clearance measurement.
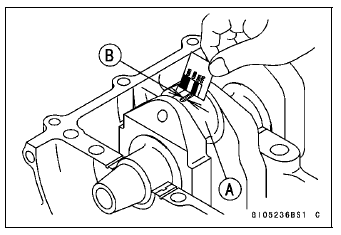
Remove the connecting rod big end again, measure each clearance between the bearing insert and crankpin [A] using plastigage (press gauge) [B].
NOTICE
After measurement, replace the connecting rod bolts and nuts.
Connecting Rod Big End Bearing Insert/Crankpin Clearance
Standard: 0.030  0.060 mm
 0.060 mm 
(0.0012  0.0024 in.)
 0.0024 in.)
Service Limit: 0.10 mm (0.0039 in.)
If the clearance is within the standard, no bearing replacement is required.
If the clearance is between 0.061 mm (0.0024 in.) and the service limit (0.10 mm, 0.0039 in.), replace the bearing inserts [A] with inserts painted blue [B]. Check insert/ crankpin clearance with the plastigage. The clearance may exceed the standard slightly, but it must not be less than the minimum in order to avoid bearing seizure.
If the clearance exceeds the service limit, measure the diameter of the crankpins.

Crankpin Diameter
Standard: 34.484  34.500 mm
34.500 mm 
(1.3576  1.3583 in.)
 1.3583 in.)
Service Limit: 34.47 mm (1.3571 in.)
Crankpin Diameter Marks
None 34.484  34.492 mm (1.3576
 34.492 mm (1.3576 
 
1.3580 in.)
 34.493
 34.493
 34.500 mm (1.3580
 34.500 mm (1.3580
 1.3583 in.)
 1.3583 in.)

 : Crankpin Diameter Marks (“” or
: Crankpin Diameter Marks (“” or 
No Mark)
NOTE
The mark already on the big end should almost coincide with the measurement.
Connecting Rod Big End Inside Diameter Marks
None 37.500  37.508 mm
  37.508 mm 
(1.4764  1.4767 in.)
 1.4767 in.)
 37.509
 37.509
 37.516 mm (1.4767
 37.516 mm (1.4767
 1.4770 in.)
 1.4770 in.)

Big End Cap [A] Connecting Rod [B] Weight Mark, Alphabet [C] Diameter Mark [D] (“” or No Mark)
Size Color [B]


 Connecting Rod Big End Side Clearance Inspection
Connecting Rod Big End Side Clearance Inspection Crankshaft Side Clearance Inspection
Crankshaft Side Clearance InspectionFront, Rear Wheel Rotation Difference Abnormal Inspection (Service Code b 
25)
   
	Check the following and correct the faulty part.
	Incorrect Tire Pressure
	Tires not recommended for the motorcycle were installed
	(incorrect tire size).
	Deformation of Wheel or Tire
	Missing Teeth or Clogging with Foreign Matter of Sensor
	Rotor (see Wheel Rotation Sensor Rotor Inspe ...
   
Compression Damping Force Adjustment
   
	To adjust the compression damping force, turn the compression
	damping adjuster [A].
The standard adjuster setting is the 4 1/2 turns out from
the fully clockwise position.
	
		WARNINGIf both adjusters are not adjusted 
		equally, handling
		may be impaired and a hazardous condition ma ...
   
Exploded View
   
HG: Apply high-temperature grease.
HO: Apply heavy oil.
L: Apply a non-permanent locking agent.
MO: Apply molybdenum disulfide oil solution.
(mixture of the engine oil and molybdenum disulfide grease in a weight ratio 
10:1)
R: Replacement Parts
Specifications
Special Too ...