 
| WARNING Fuel is flammable and explosive under certain conditions and can cause severe burns. Be prepared for fuel spillage; any spilled fuel must be completely wiped up immediately. When the fuel hose is disconnected, fuel spills out from the hose and the pipe. Cover the hose connection with a clean shop towel to prevent fuel spillage. | 
For Primary Fuel Hose (Fuel Tank
 Throttle Body Assy)
 Throttle Body Assy)

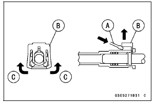
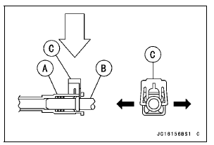
When removing with standard tip screwdriver
When removing with fingers

NOTICE
Prying or excessively widening the joint lock ends for fuel hose removal will permanently deform the joint lock, resulting in a loose or incomplete lock that may allow fuel to leak and create the potential for a fire explosion. To prevent fire or explosion from a damaged joint lock, do not pry or excessively widen the joint lock ends when removing the fuel hose. The joint lock has a retaining edge that locks around the housing.

The fuel hose in Brazil model has yellow paint [B].

Check the yellow paint of the fuel hose in the throttle body assy side (Brazil model only).


| WARNING Leaking fuel can cause a fire or explosion resulting in severe burns. Make sure the fuel hose joint is installed correctly on the delivery pipe and that it doesn’t leak. | 
If it comes off, reinstall the hose joint.
For Secondary Fuel Hose (Throttle Body Assy
 Nozzle Assy)
 Nozzle Assy)

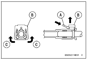
When removing with standard tip screwdriver
When removing with fingers

NOTICE
Prying or excessively widening the joint lock ends for fuel hose removal will permanently deform the joint lock, resulting in a loose or incomplete lock that may allow fuel to leak and create the potential for a fire explosion. To prevent fire or explosion from a damaged joint lock, do not pry or excessively widen the joint lock ends when removing the fuel hose. The joint lock has a retaining edge that locks around the housing.

The fuel hose in Brazil model has yellow paint [B].

Check the yellow paint of the fuel hose in the throttle body assy side (Brazil model only).

| WARNING Leaking fuel can cause a fire or explosion resulting in severe burns. Make sure the fuel hose joint is installed correctly on the delivery pipe and that it doesn’t leak. | 
If it comes off, reinstall the hose joint.


NOTICE
When inserting the fuel hose joint, do not apply strong force to the delivery pipe [E] on the nozzle assy. The pipe made from resin could be damaged.
NOTICE
When pushing and pulling the fuel hose joint, do not apply strong force to the delivery pipe [C] on the nozzle assy. The pipe made from resin could be damaged.

| WARNING Leaking fuel can cause a fire or explosion resulting in severe burns. Make sure the fuel hose joint is installed correctly on the delivery pipe and that it doesn’t leak. | 
If it comes off, reinstall the hose joint.
 Air Cleaner Element Replacement
Air Cleaner Element Replacement Coolant Change
Coolant ChangeCrankshaft Side Clearance Inspection
   
	Insert a thickness gauge [A] between the thrust washer
	[B] on the crankcase and the crank web [C] at the #3 main
	journal to determine clearance.
If the clearance exceeds the service limit, replace the
thrust washers as a set and check the width of the crankshaft
#3 main journal.
Cra ...
   
Fuel Tank Cleaning
   
	
		WARNINGGasoline and low flash-point solvents can 
		be
		flammable and/or explosive and cause severe
		burns. Clean the tank in a well-ventilated area, and
		take care that there are no sparks or flame anywhere
		near the working area. Do not use gasoline
		or low flash-point solvents t ...
   
Coolant Temperature Meter
   The coolant temperature gauge indicates
temperature of the engine
coolant. The “  ” symbol is displayed
if the coolant temperature meter
is selected.
A. Coolant Temperature Meter
B. Warning Indicator Light (Red)
C. “ ” Symbol
	If the coolant temperature is below
	40°C (104°F ...