If the fuse is good, check the wiring continuity as follows.
Disconnect: Battery Positive Cable (see Battery Removal in the Electrical System chapter) KIBS Hydraulic Unit Lead Connector (see KIBS Hydraulic Unit Removal in the Brakes chapter)

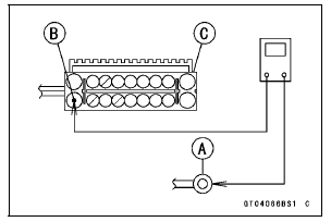
Check the wiring continuity between the positive cable terminal [A] of the battery and R/W lead terminal [B] in the KIBS Hydraulic Unit Lead Connector [C].
If the wiring is open, replace or repair the harness (see KIBS System Circuit in the Brakes chapter).
If the wiring is good, go to next step.

The KIBS motor relay is built in the KIBS Hydraulic Unit.
Therefore the relay cannot be checked directly.
If this service code appears even if all checks are ended, replace the KIBS hydraulic unit.
If the service code does not appear, the KIBS system normal (temporary failure).
Front, Rear Wheel Rotation Difference Abnormal Inspection (Service Code b
25)
Front Wheel Rotation Sensor Signal Abnormal (Service Code b 42)Radiator Hose and O-ring Replacement
Drain the coolant (see Coolant Change).
Remove:
Upper Fairing Assembly (see Upper Fairing Assembly
Removal in the Frame chapter)
Thermostat Housing [A] (see Thermostat Removal in the
Cooling System chapter)
Oil Cooler [B] (see Oil Cooler Removal in the Engine
Lubrication System chap ...
ZX1000JB/KB Models
1. Run the fuse box 2 lead in front of the rib for the fuse box 2.
2. Seat Lock Cable
3. Hook the licence plate light lead and the left turn signal light lead on
the projection of the tool
kit case.
4. Rib for Fuse Box 2
5. Run the starter relay lead in back of the rib for the fuse box 2 ...
Air Intake Duct Assembly (Other than US, CA and CAL Models)
Install the seals [A] as shown in the figure.
Fit the projections [A] of the air intake valve to the hole [B]
of the air intake ducts.
Tighten:
Torque - Air Intake Duct Assembly Screws: 1.5 N·m (0.15
kgf·m, 13 in·lb)
Hang the shaft [A] to the air intake valve securely ...