Sealant - Liquid Gasket, TB1216B [A]: 92104-1064 Liquid Gasket, TB1207B [B]: 92104-2068
NOTE
NOTICE
Do not apply liquid gasket around the crankshaft main bearing inserts and oil passage.

NOTE
Install the drive shaft bearing [A].
Special Tool - Bearing Driver Set: 57001-1129

Face the oil seal side of the bearing to the bottom.

Install the M9 bolts and washers.
L = 113 mm (4.45 in.) [A] L = 100 mm (3.94 in.) [B]
Tighten M9 bolts by following the sequence numbers [1
10].
Torque - Lower Crankcase Bolts (M9): 45 N·m (4.6 kgf·m, 33 ft·lb)

Install the M7 bolts.
L = 50 mm (2.0 in.) [A] L = 45 mm (1.8 in.) [B] Tighten:
Torque - Lower Crankcase Bolts (M7): 20 N·m (2.0 kgf·m, 15 ft·lb)

Replace the M6 bolt washers with new ones.
Install the M6 bolts.
L = 60 mm (2.4 in.) [A] (With Washer) L = 45 mm (1.8 in.) [B] L = 40 mm (1.6 in.) [C]
Install the clamp [D] and washer [E] as shown in the figure.
Tighten:
Torque - Lower Crankcase Bolts (M6): 12 N·m (1.2 kgf·m, 106 in·lb)


Replace the M8 bolt washers with new ones.
Install the M8 bolts [A] and washers.
Install the M7 bolt [B].
Tighten:
Torque - Upper Crankcase Bolts (M8): 27 N·m (2.8 kgf·m, 20 ft·lb) Upper Crankcase Bolt (M7): 20 N·m (2.0 kgf·m, 15 ft·lb)
Wipe up the liquid gasket that seeps out around the crankcase mating surface.
Crankshaft turns freely.
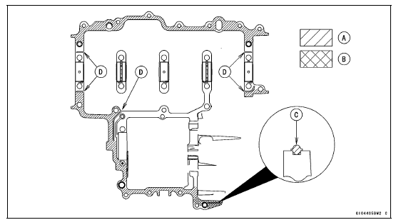
Drive Shaft Bearing Holder [A] Output Shaft Bearing Holder [B]

Turn the flat side [C] of the holders to inside.
Lower Crankcase AssemblyShift Fork/Gear Groove Wear Inspection
Measure the thickness of the shift fork ears [A], and measure
the width [B] of the gear grooves.
If the thickness of a shift fork ear is less than the service
limit, the shift fork must be replaced.
Shift Fork Ear Thickness
Standard: 5.7 6.0 mm (0.224
0.236 in.)
Service Limit: 5.6 mm ...
Water Temperature Sensor Removal/Installation
NOTICE
Never drop the water temperature sensor especially
on a hard surface. Such a shock to the sensor can
damage it.
Remove the throttle body assy (see Throttle Body Assy
Removal in the Fuel System (DFI) chapter).
Drain the coolant (see Coolant Change in the Periodic
Maintenance c ...
Throttle Body Assy Holder Installation
Be sure to install the new O-rings [A].
Using a high flash-point solvent, clean off any oil or dirt
that may be on the silicone sealant coating area. Dry
them with a clean cloth.
Apply silicone sealant to any two positions of the new O
-ring.
Sealant - Liquid Gasket, TB1211F: 92104-0 ...