Turn the oil seal side to the bottom.
Special Tool - Bearing Driver Set: 57001-1129
Turn the flat side to the bottom.

Turn the stepped edge to upside.
Special Tool - Bearing Driver Set: 57001-1129
Turn the flat side to the bottom.
Tighten: Torque - Transmission Case Bearing Holder Bolts: 4.9 N·m (0.50 kgf·m, 43 in·lb)
Turn the flat side to the bottom.

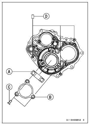
Spring [A] Washer [B] Gear Positioning Lever [C]

The shift fork [D] for drive shaft has “A2” mark. Turn the mark to the upside.
The shift forks [E] for output shaft have “A1” mark. Turn the mark to the bottom.
The shift forks [F] for output shaft have “A3” mark. Turn the mark to the bottom.

Transmission Assy Disassembly
Transmission Assy InstallationStick Coil Installation
Apply a thin coat of grease [A] to the stick coils for easy
installation.
Insert the stick coils so that the coil heads align with the
lines [B] on the cylinder head cover.
NOTICE
Do not tap the coil head while installing the coil.
After installation, be sure the stick coils are ...
Clutch Plate, Wear, Damage Inspection
Visually inspect the friction and steel plates for signs of
seizure, overheating (discoloration), or uneven wear.
Measure the thickness of each friction plate [A] at several
points.
If any plates show signs of damage, or if they have worn
past the service limit, replace them with new on ...
ESD (Electronic Steering Damper) ECU Communication Error (Service Code 3C,
ZX1000JD/KD)
ESD ECU Communication Line Inspection
When the data (for status of ESD system) is not sent from
the ESD ECU to the meter unit and ECU, the service code
3C is displayed.
The data is sent through the CAN communication line.
The service code 3C is detected with the meter unit.
The FI symbol does ...