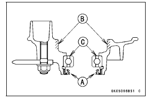
Apply high-temperature grease to the following.
Coupling Grease Seal Lips [A] Coupling Internal Surface [B] Ball Bearing [C]


Rear Sprocket Installation
Coupling Bearing RemovalCrankshaft Main Bearing
Insert/Journal Wear Inspection
Split the crankcase (see Crankcase Splitting).
Cut strips of plastigage to journal width.
Place a strip on each journal parallel to the crankshaft
installed in the correct position.
Tighten the crankcase bolts to the specified torque (see
Crankcase Assembly).
NOTE
Do not turn ...
Idle Speed Control Valve Actuator Removal
NOTICE
Never drop the idle speed control valve actuator especially
on a hard surface. Such a shock to the actuator
can damage it.
Remove:
Throttle Body Assy (see Throttle Body Assy Removal in
the Fuel System (DFI) chapter)
Idle Speed Control Valve Actuator Retainer Screws [A]
Idle Spe ...
Evaporative Emission Control System (California
model only)
This system routes fuel vapors from
the fuel system into the running engine
or stores the vapors in a canister when
the engine is stopped. Although no adjustments
are required, a thorough visual
inspection must be made at the intervals
specified by the Periodic Maintenance
Chart.
Inspection
...