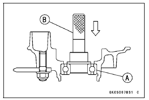
Special Tool - Inside Circlip Pliers: 57001-143

Special Tool - Bearing Driver Set [B]: 57001-1129

Coupling Installation
Coupling Bearing InstallationOil Pump Drive Gear Installation
Install is the reverse of removal. Note the following.
First, engage the oil pump chain [A] to the gears, and then
install the oil pump drive gear [B].
Turn the “OUT” mark [C] to outside.
Apply a non-permanent locking agent to the oil pump drive
chain guide bolt and the oil pump drive ...
Oxygen Sensor - not activated (Service Code 33, Equipped Models)
Oxygen Sensor Removal/Installation
Refer to the Oxygen Sensor Removal/Installation
(Equipped Models) in the Electrical System chapter.
Oxygen Sensor Inspection
Remove:
Fuel Tank (see Fuel Tank Removal in the Fuel System
(DFI) chapter)
Oxygen Sensor Lead Connector [A]
Connect t ...
Engine Stop Switch Operation Inspection
First Step
Set the gear position in the neutral position.
Turn the ignition switch to ON.
Turn the engine stop switch to stop position [A].
Push the starter button.
The engine does not start.
If the engine starts, inspect the engine stop switch (see
Switch Inspection in the Electri ...