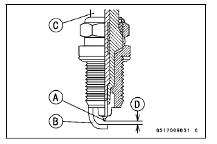
If the spark plug center electrode [A] and/or side electrode [B] are corroded or damaged, or if the insulator [C] is cracked, replace the plug.
If the spark plug is dirtied or the carbon is accumulated, replace the spark plug.
If the gap is incorrect, replace the spark plug.
Spark Plug Gap: 0.8
0.9 mm (0.031
0.035 in.)

Standard Spark Plug Type: NGK CR9EIA-9
Stick Coil Primary Peak Voltage Inspection
Interlock Operation InspectionRear Caliper Removal
Remove:
Bolt [A]
Rear Wheel Rotation Sensor [B]
Loosen the banjo bolt [C] at the brake hose lower end,
and tighten it loosely.
Loosen the caliper holder pin [D].
Remove the rear wheel (see Rear Wheel Removal in the
Wheels/Tires chapter).
Unscrew the banjo bolt and remove t ...
CAN Communication (Transmission)/CAN Bus OFF Monitor Inspection (Service Code
b 57) CAN Communication (Reception) Monitor Inspection (Service Code b 58)
Remove:
Seat (see Seat Removal in the Frame chapter)
Immobilizer (Equipped Models)/Kawasaki Diagnostic
System Connector Cap [A]
Measure the CAN communication line resistance.
Immobilizer (Equipped Models)/Kawasaki Diagnostic
System Connector [A]
GY/BL Terminal [B]
LB Ter ...
Piston Ring Groove Width Inspection
Measure the piston ring groove width.
Use a vernier caliper at several points around the piston.
Piston Ring Groove Width
Standard:
Top [A] 0.82 0.84 mm (0.0323
0.0331 in.)
Second [B] 0.82 0.84 mm
(0.0323 0.0331 in.)
Service Limit:
0.92 mm (0.036 in.)
Second 0.92 mm (0.036 in.)
...